当前位置:网站首页 > 新闻资讯 > 行业新闻

一种冷镦材料拉拔润滑装置的制作方法

作者:容嬷嬷  来源:  更新时间:2024/3/5 9:33:13  点击次数:
  本实用新型涉及工装夹具领域,更具体的说,涉及一种润滑装置。
冷镦结构示意图

  背景技术:

  冷镦钢材形状类似于钢筋,其韧性、拔拉性能较好,在生产时呈现出不同规格,但是不同厂商对材料的要求不一,因此,需要对材料的直径进行转换。一般来说,材料在生产时,直径较大,因为要想从较大的直径转化为较小的直径相对简单,可以通过模具拔丝完成;但是,较小的直径转化为较大的直径比较困难,一般只能重新生产。因此,材料在生产是一般按照较大的规格生产,需要用到较小的规格时,在拔丝处理。

  从较大直径转化为较小直径一般分为三步,抛光-润滑-拔丝。抛光的目的在于将材料表面的锈或者其它污渍除去,通过抛沙机完成;再通过在材料表面涂抹润滑粉完成润滑;润滑后可通过模具配合拔丝机完成拔丝,期间会用到拔丝粉。拔丝的模具上设置拔丝孔,拔丝孔一端供材料进入,直径大于材料的原直径,另一端为出口,直径等于目标材料的直径,入口处设有过度的漏斗状的圆弧面。目前,这三步均分开进行,因为润滑需要人工涂抹处理,其工作速率不同,且人工操作中间容易停滞,而抛光设备和拔丝设备又不能停滞。因此,通常这三步是分开进行,一般有三个操作人员分别完成三步。通常细分为,放卷-抛光-收卷-放卷-润滑-收卷-放卷-拔丝-收卷。多次收卷放卷造成工作效率较低且浪费了人力和能源。

  技术实现要素:

  针对现有技术中所存在的不足,本实用新型的目的在于提供一种冷镦材料拉拔润滑装置,解决了现有技术中在转换材料直径时,抛光-润滑-拔丝需要分开进行造成的工作效率低和浪费人力和能源的问题。

  为实现上述目的,本实用新型采用了如下的技术方案:

  一种冷镦材料拉拔润滑装置,包括壳体、壳体内设置的容纳润滑粉的润滑槽、润滑槽侧壁上设置的润滑块和垂直于润滑块转动连接在润滑槽内的螺旋输送杆;所述润滑块上设有供材料穿过的导孔,所述螺旋输送杆中间设有供材料穿过的中间孔,所述导孔与中间孔同轴设置且导孔与中间孔相对的一侧端口向圆周方向张开形成张口。

  相比于现有技术,本实用新型具有如下有益效果:

  本实用新型在螺旋输送杆上设置中间孔供材料穿过,并利用螺旋输送杆将润滑槽内的润滑粉送至导孔并提供一定的压力,材料在穿过导孔之前其表面受到润滑粉的挤压而达到涂抹的效果,完成自动涂抹润滑粉。进而可以将抛光装置和拔丝装置连接在本实用新型的两侧,无需在有中间的放卷收卷过程。一次收放卷就可以完成整个直径转换过程。

  本实用新型的其它优点、目标和特征将部分通过下面的说明体现,部分还将通过对本实用新型的研究和实践而为本领域的技术人员所理解。

  附图说明

  图1为本实用新型俯视图;

  图2为螺旋输送杆处结构示意图;

  图3为拔丝模具工作示意图;

  图4为本实用新型工作位置示意图。

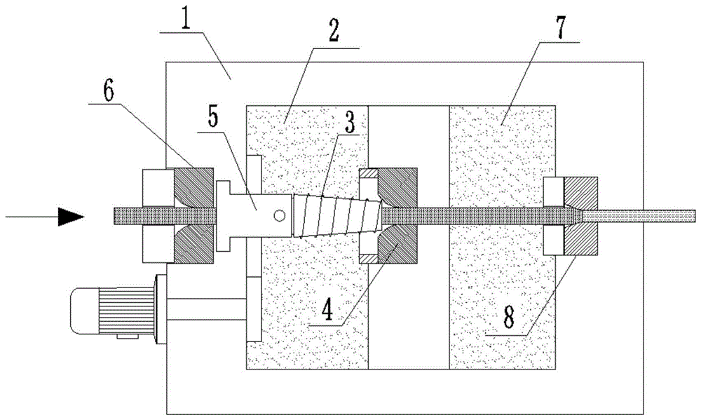
  其中,壳体1、润滑槽2、螺旋输送杆3、润滑块4、转动座5、导向块6、拔丝槽7、拔丝模具8、导向轮9、牵引装置10、抛丸装置11、张口41、齿圈51。

  具体实施方式

  为了使本实用新型实现的技术手段、创作特征、达成目的与作用更加清楚及易于了解,下面结合附和具体实施方式对本实用新型作进一步阐述:

  如图1-3所示,本实用新型提出了一种冷镦材料拉拔润滑装置,包包括壳体1、壳体1内设置的容纳润滑粉的润滑槽2、润滑槽2侧壁上设置的润滑块4和垂直于润滑块4且转动连接在润滑槽2内的螺旋输送杆3。所述润滑块4上设有供材料穿过的导孔,所述螺旋输送杆3中间设有供材料穿过的中间孔,所述导孔与中间孔同轴设置且导孔与中间孔相对的一侧端口向圆周方向张开拓展成喇叭状的张口41。

  如上述方案所述,本实用新型的技术思路为:通过螺栓输送杆提供压力将润滑粉输送并压至材料表面,达到自动涂抹的效果。并以此将抛光-润滑-拔丝结合起来,一次收放卷即可完成。

  优选的,所述螺旋输送杆3呈圆台形,其较小的一端小于张口直径且部分伸入张口内。采用锥形输送,使螺丝旋输送机提供的压力更大,输送更具针对性,达到较好的涂抹效果。

  优选的,所述螺旋输送杆3可拆卸的连接在转动连接在润滑槽2内壁上的转动座5上,所述转动座5外套设有供电机驱动的齿圈51且中间设有供材料穿过的通孔。为适应更多产品,将螺旋输送杆3设置成可拆卸的形式,实际安装中,采用销孔的方式连接,由于还要设置中间孔和通孔,销孔的配合并不深,因此需要一点螺纹配合保持稳定。转动座5上的通孔的直径一般大于中间孔,可以供大多数规格的材料通过。

  优选的,所述壳体1的外侧还设有导向块6,导向块6的位置使得材料可依次直线穿过导向块6、转动座5、螺旋输送杆3和润滑块4。图1箭头方向表示材料移动方向,为了安装方便,同时在材料输送过程中,转动座5和螺旋输送杆3并不与材料发生直接作用力,因为在拔丝时,材料本身能产生的力是很大的,所以中间孔和转动座5上的通孔都比产品直径稍大,以保证不受径向力。但是孔径大的时候又要防止润滑粉通过通孔和中间孔渗漏,设置可以受力的导向块6与材料进行尺寸配合防止润滑粉渗漏。同时定位材料的活动轨迹。

  优选的,所述壳体1内还设有容纳拔丝粉的拔丝槽7,拔丝槽7面向材料输送方向的侧面上设有拔丝模具8,所述拔丝模具8上的拔丝孔轴向沿材料输送方向设置。将拔丝模具8直接集成到装置内,两侧只需设置抛丸装置11和牵引装置10即可,使结构本身更为紧凑。如图4所示。

  在实际工作中,在壳体1两侧均设有导向轮9,保证进入内的材料是在预定路径上直线穿过的,防止装置本身受大的径向力。润滑块4、导向块6和拔丝模具8均通过中间带通孔的螺纹盖压紧在壳体1上。产品更换时,导向块6,螺旋输送杆3、润滑块4和拔丝模具8均需相应的更换。材料第一次穿过上述部件时没有拔丝机的牵引力,可将材料前一小段削尖,穿过装置获得牵引装置10的牵引力。

  以上实施例仅用以说明本实用新型的技术方案而非限制,尽管参照较佳实施例对本实用新型进行了详细说明,本领域的普通技术人员应当理解,可以对本实用新型的技术方案进行修改或者等同替换,而不脱离本实用新型技术方案的宗旨和范围,其均应涵盖在本实用新型的权利要求范围当中。

  技术特征:

  1.一种冷镦材料拉拔润滑装置,其特征在于,包括壳体、壳体内设置的容纳润滑粉的润滑槽、润滑槽侧壁上设置的润滑块和垂直于润滑块且转动连接在润滑槽内的螺旋输送杆;所述润滑块上设有供钢筋穿过的导孔,所述螺旋输送杆上同轴的设有供钢筋穿过的中间孔,所述导孔与中间孔同轴设置且导孔与中间孔相对的一侧端口向圆周方向扩展成喇叭状的张口。

  2.如权利要求1所述的一种冷镦材料拉拔润滑装置,其特征在于,所述螺旋输送杆呈圆台形,其直径较小的一端小于张口直径且部分伸入张口内。

  3.如权利要求2所述的一种冷镦材料拉拔润滑装置,其特征在于,所述螺旋输送杆可拆卸的连接在转动连接在润滑槽内壁上的转动座上,所述转动座外套设有供电机驱动的齿圈且中间设有供钢筋穿过的通孔。

  4.如权利要求3所述的一种冷镦材料拉拔润滑装置,其特征在于,所述壳体的外侧还设有导向块,导向块的位置使得钢筋可依次直线穿过导向块、转动座、螺旋输送杆和润滑块。

  5.如权利要求1所述的一种冷镦材料拉拔润滑装置,其特征在于,所述壳体内还设有容纳拔丝粉的拔丝槽,拔丝槽面向钢筋输送方向的侧面上设有拔丝模具,所述拔丝模具上的拔丝孔的轴线沿钢筋输送方向设置。

  6.如权利要求1-5任一项所述的一种冷镦材料拉拔润滑装置,其特征在于,所述壳体在钢筋输送方向的两侧均设有导向轮。

  技术总结

  本实用新型公开了一种冷镦材料拉拔润滑装置,属于工装夹具领域,包括壳体、壳体内设置的容纳润滑粉的润滑槽、润滑槽侧壁上设置的润滑块和垂直于润滑块转动连接在润滑槽内的螺旋输送杆;所述润滑块上设有供材料穿过的导孔,所述螺旋输送杆中间设有供材料穿过的中间孔,所述导孔与中间孔同轴设置且导孔与中间孔相对的一侧端口向圆周方向张开形成张口。本实用新型解决了现有技术中转换材料直径时,抛光?润滑?拔丝分开进行的问题。
本文链接://news/news202435761.html
上一篇:套筒杆冷镦成型工艺
下一篇:一种大六角头螺栓的冷镦成型工艺的制作方法

相关文章

冷镦加工网-2023
冷镦加工非标螺母批发-2023
冷镦加工工艺理论依据-2023
冷镦加工费计算方法-2023
冷镦加工比其他加工方式的生产率更高-2025
冷墩机加工教您改善车内空气质量-2025
冷镦加工件的市场发展-2023
多工位冷镦怎么增强性能呢?-2023
冷镦加工机器遇电气改造需知的调节步骤-2023
冷镦工业的技术有一定的突破-2023
冷镦加工对比热镦加工的优劣势-2023
2017年中国冷镦成形装备行业市场需求分析及行业产业链分析-2018
韩国首尔国际金属工业展览会-2018
冷镦工艺对金属材料的要求-2025
一种冷镦件的制作方法-2025

联系人:姚经理

手机:13957721085

手机:13777761633

电话:0577-86655442

传真:0577-86656557

Q Q:153503464

邮箱:[email protected]

地址:温州市龙湾机场大道3380号

关注我们
© 2019 安博在线 版权所有 浙ICP备19016022号-1    浙公网安备33030302000798号 网站地图 | 技术支持:云鼎科技